Сверла со сменными головками — серия DH01
8 августа 2025
- Сменные головки для сверл серии DH01
- Корпуса сверл — серия DH01
- Запасные части — серия DH01
- Режимы резания
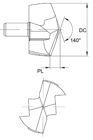
Сменные головки для сверл серии DH01
| Сталь | P |
|
|
|
|||
| Нержавеющая | M |
| |||||
| Чугун | K |
| |||||
| Цветные металлы | N | ||||||
| Жаропрочные сплавы | S | ||||||
| Материалы высокой твердости | H | ||||||
| Обозначение | Твердый сплав | Размеры (мм) | Подходящий корпус сверла | ||||
| PVD | |||||||
| CP2025 | CP1515 | DC (k7) | PL | ||||
|
| DH0100-SHPK | ■ | ■ | 10 | 1,82 | DH01-0100D**-W16DH0104 | |
| DH0101-SHPK | ■ | ■ | 10,1 | 1,84 | |||
| DH0102-SHPK | ■ | ■ | 10,2 | 1,86 | |||
| DH0103-SHPK | ■ | ■ | 10,3 | 1,87 | |||
| DH0104-SHPK | ■ | ■ | 10,4 | 1,89 | |||
| DH0105-SHPK | ■ | ■ | 10,5 | 1,91 | DH01-0105D**-W16DH0109 | ||
| DH0106-SHPK | ■ | ■ | 10,6 | 1,93 | |||
| DH0107-SHPK | ■ | ■ | 10,7 | 1,95 | |||
| DH0108-SHPK | ■ | ■ | 10,8 | 1,97 | |||
| DH0109-SHPK | ■ | ■ | 10,9 | 1,98 | |||
| DH0110-SHPK | ■ | ■ | 11 | 2 | DH01-0110D**-W16DH0114 | ||
| DH0111-SHPK | ■ | ■ | 11,1 | 2,02 | |||
| DH0112-SHPK | ■ | ■ | 11,2 | 2,04 | |||
| DH0113-SHPK | ■ | ■ | 11,3 | 2,06 | |||
| DH0114-SHPK | ■ | ■ | 11,4 | 2,07 | |||
| DH0115-SHPK | ■ | ■ | 11,5 | 2,09 | DH01-0115D**-W16DH0119 | ||
| DH0116-SHPK | ■ | ■ | 11,6 | 2,11 | |||
| DH0117-SHPK | □ | □ | 11,7 | 2,13 | |||
| DH0118-SHPK | ■ | ■ | 11,8 | 2,15 | |||
| DH0119-SHPK | ■ | ■ | 11,9 | 2,17 | |||
| DH0120-SHPK | ■ | ■ | 12 | 2,18 | DH01-0120D**-W16DH0124 | ||
| DH0121-SHPK | ■ | ■ | 12,1 | 2,2 | |||
| DH0122-SHPK | ■ | ■ | 12,2 | 2,22 | |||
| DH0123-SHPK | ■ | ■ | 12,3 | 2,24 | |||
| DH0124-SHPK | □ | □ | 12,4 | 2,26 | |||
| DH0125-SHPK | ■ | ■ | 12,5 | 2,27 | DH01-0125D**-W16DH0129 | ||
| DH0126-SHPK | ■ | ■ | 12,6 | 2,29 | |||
| DH0127-SHPK | □ | □ | 12,7 | 2,31 | |||
| DH0128-SHPK | ■ | ■ | 12,8 | 2,33 | |||
| DH0129-SHPK | □ | □ | 12,9 | 2,35 | |||
| DH0130-SHPK | ■ | ■ | 13 | 2,37 | DH01-0130D**-W16DH0134 | ||
| DH0131-SHPK | ■ | ■ | 13,1 | 2,38 | |||
| DH0132-SHPK | ■ | ■ | 13,2 | 2,4 | |||
| DH0133-SHPK | □ | □ | 13,3 | 2,42 | |||
| DH0134-SHPK | □ | □ | 13,4 | 2,44 | |||
| DH0135-SHPK | ■ | ■ | 13,5 | 2,46 | DH01-0135D**-W16DH0139 | ||
| DH0136-SHPK | □ | □ | 13,6 | 2,47 | |||
| DH0137-SHPK | ■ | ■ | 13,7 | 2,49 | |||
| DH0138-SHPK | ■ | ■ | 13,8 | 2,51 | |||
| DH0139-SHPK | □ | □ | 13,9 | 2,53 | |||
| DH0140-SHPK | ■ | ■ | 14 | 2,55 | DH01-0140D**-W16DH0144 | ||
| DH0141-SHPK | ■ | ■ | 14,1 | 2,57 | |||
| DH0142-SHPK | ■ | ■ | 14,2 | 2,58 | |||
| DH0143-SHPK | □ | □ | 14,3 | 2,6 | |||
| DH0144-SHPK | □ | □ | 14,4 | 2,62 | |||
| DH0145-SHPK | ■ | ■ | 14,5 | 2,64 | DH01-0145D**-W16DH0149 | ||
| DH0146-SHPK | ■ | ■ | 14,6 | 2,66 | |||
| DH0147-SHPK | □ | □ | 14,7 | 2,68 | |||
| DH0148-SHPK | ■ | ■ | 14,8 | 2,69 | |||
| DH0149-SHPK | □ | □ | 14,9 | 2,71 | |||
| DH0150-SHPK | ■ | ■ | 15 | 2,73 | DH01-0150D**-W20DH0159 | ||
| DH0151-SHPK | ■ | ■ | 15,1 | 2,75 | |||
| DH0152-SHPK | ■ | ■ | 15,2 | 2,77 | |||
| DH0153-SHPK | ■ | ■ | 15,3 | 2,78 | |||
| DH0154-SHPK | □ | □ | 15,4 | 2,8 | |||
| DH0155-SHPK | ■ | ■ | 15,5 | 2,82 | |||
| DH0156-SHPK | □ | □ | 15,6 | 2,84 | |||
| DH0157-SHPK | □ | □ | 15,7 | 2,86 | |||
| DH0158-SHPK | ■ | ■ | 15,8 | 2,88 | |||
| DH0159-SHPK | □ | □ | 15,9 | 2,89 | |||
| DH0160-SHPK | ■ | ■ | 16 | 2,91 | DH01-0160D**-W20DH0169 | ||
| DH0161-SHPK | ■ | ■ | 16,1 | 2,93 | |||
| DH0162-SHPK | ■ | ■ | 16,2 | 2,95 | |||
| DH0163-SHPK | □ | □ | 16,3 | 2,97 | |||
| DH0164-SHPK | □ | □ | 16,4 | 2,98 | |||
| DH0165-SHPK | ■ | ■ | 16,5 | 3 | |||
| DH0166-SHPK | □ | □ | 16,6 | 3,02 | |||
| DH0167-SHPK | □ | □ | 16,7 | 3,04 | |||
| DH0168-SHPK | ■ | ■ | 16,8 | 3,06 | |||
| DH0169-SHPK | □ | □ | 16,9 | 3,08 | |||
| DH0170-SHPK | ■ | ■ | 17 | 3,09 | DH01-0170D**-W20DH0179 | ||
| DH0171-SHPK | ■ | ■ | 17,1 | 3,11 | |||
| DH0172-SHPK | ■ | ■ | 17,2 | 3,13 | |||
| DH0173-SHPK | □ | □ | 17,3 | 3,15 | |||
| DH0174-SHPK | □ | □ | 17,4 | 3,17 | |||
| DH0175-SHPK | ■ | ■ | 17,5 | 3,18 | |||
| DH0176-SHPK | □ | □ | 17,6 | 3,2 | |||
| DH0177-SHPK | □ | □ | 17,7 | 3,22 | |||
| DH0178-SHPK | ■ | ■ | 17,8 | 3,24 | |||
| DH0179-SHPK | □ | □ | 17,9 | 3,26 | |||
| DH0180-SHPK | ■ | ■ | 18 | 3,28 | DH01-0180D**-W25DH0189 | ||
| DH0181-SHPK | ■ | ■ | 18,1 | 3,29 | |||
| DH0182-SHPK | ■ | ■ | 18,2 | 3,31 | |||
| DH0183-SHPK | □ | □ | 18,3 | 3,33 | |||
| DH0184-SHPK | □ | □ | 18,4 | 3,35 | |||
| DH0185-SHPK | ■ | ■ | 18,5 | 3,37 | |||
| DH0186-SHPK | □ | □ | 18,6 | 3,38 | |||
| DH0187-SHPK | □ | □ | 18,7 | 3,4 | |||
| DH0188-SHPK | ■ | ■ | 18,8 | 3,42 | |||
| DH0189-SHPK | □ | □ | 18,9 | 3,44 | |||
| DH0190-SHPK | ■ | ■ | 19 | 3,46 | DH01-0190D**-W25DH0199 | ||
| DH0191-SHPK | ■ | ■ | 19,1 | 3,48 | |||
| DH0192-SHPK | ■ | ■ | 19,2 | 3,49 | |||
| DH0193-SHPK | □ | □ | 19,3 | 3,51 | |||
| DH0194-SHPK | □ | □ | 19,4 | 3,53 | |||
| DH0195-SHPK | ■ | ■ | 19,5 | 3,55 | |||
| DH0196-SHPK | □ | □ | 19,6 | 3,57 | |||
| DH0197-SHPK | □ | □ | 19,7 | 3,59 | |||
| DH0198-SHPK | ■ | ■ | 19,8 | 3,6 | |||
| DH0199-SHPK | □ | □ | 19,9 | 3,62 | |||
| DH0200-SHPK | ■ | ■ | 20 | 3,64 | DH01-0200D**-W25DH0209 | ||
| DH0201-SHPK | □ | □ | 20,1 | 3,66 | |||
| DH0202-SHPK | ■ | ■ | 20,2 | 3,68 | |||
| DH0203-SHPK | ■ | ■ | 20,3 | 3,69 | |||
| DH0204-SHPK | ■ | ■ | 20,4 | 3,71 | |||
| DH0205-SHPK | ■ | ■ | 20,5 | 3,73 | |||
| DH0206-SHPK | ■ | ■ | 20,6 | 3,75 | |||
| DH0207-SHPK | ■ | ■ | 20,7 | 3,77 | |||
| DH0208-SHPK | ■ | ■ | 20,8 | 3,79 | |||
| DH0209-SHPK | ■ | ■ | 20,9 | 3,8 | |||
| DH0210-SHPK | ■ | ■ | 21 | 3,82 | DH01-0210D**-W25DH0219 | ||
| DH0211-SHPK | □ | □ | 21,1 | 3,84 | |||
| DH0212-SHPK | □ | □ | 21,2 | 3,86 | |||
| DH0213-SHPK | ■ | ■ | 21,3 | 3,88 | |||
| DH0214-SHPK | □ | □ | 21,4 | 3,89 | |||
| DH0215-SHPK | ■ | ■ | 21,5 | 3,91 | |||
| DH0216-SHPK | □ | □ | 21,6 | 3,93 | |||
| DH0217-SHPK | □ | □ | 21,7 | 3,95 | |||
| DH0218-SHPK | □ | □ | 21,8 | 3,97 | |||
| DH0219-SHPK | □ | □ | 21,9 | 3,99 | |||
■ — стандартная программа, □ — уточняйте возможность поставки
Корпуса сверл — серия DH01
| DH01 | 3D-8D | Обозначение | Доступность | DC min | DC max | DCON (h6) | DF | LU | LFS | OAL | Подходящая головка |
|---|---|---|---|---|---|---|---|---|---|---|---|
|
| 3D | ||||||||||
| DH01-0100D03-W16DH0104 | ■ | 10 | 10,4 | 16 | 20 | 33 | 48 | 96 | DH0100~DH0104 | ||
| DH01-0105D03-W16DH0109 | ■ | 10,5 | 10,9 | 16 | 20 | 34,5 | 49,5 | 97,5 | DH0105~DH0109 | ||
| DH01-0110D03-W16DH0114 | ■ | 11 | 11,4 | 16 | 20 | 36 | 51 | 99 | DH0110~DH0114 | ||
| DH01-0115D03-W16DH0119 | ■ | 11,5 | 11,9 | 16 | 20 | 37,5 | 52,5 | 100,5 | DH0115~DH0119 | ||
| DH01-0120D03-W16DH0124 | ■ | 12 | 12,4 | 16 | 20 | 39 | 54 | 102 | DH0120~DH0124 | ||
| DH01-0125D03-W16DH0129 | ■ | 12,5 | 12,9 | 16 | 20 | 40,5 | 55,5 | 103,5 | DH0125~DH0129 | ||
| DH01-0130D03-W16DH0134 | ■ | 13 | 13,4 | 16 | 20 | 42 | 57 | 105 | DH0130~DH0134 | ||
| DH01-0135D03-W16DH0139 | ■ | 13,5 | 13,9 | 16 | 20 | 43,5 | 58,5 | 106,5 | DH0135~DH0139 | ||
| DH01-0140D03-W16DH0144 | ■ | 14 | 14,4 | 16 | 20 | 45 | 60 | 108 | DH0140~DH0144 | ||
| DH01-0145D03-W16DH0149 | ■ | 14,5 | 14,9 | 16 | 20 | 46,5 | 61,5 | 109,5 | DH0145~DH0149 | ||
| DH01-0150D03-W20DH0159 | ■ | 15 | 15,9 | 20 | 25 | 50 | 67 | 117 | DH0150~DH0159 | ||
| DH01-0160D03-W20DH0169 | ■ | 16 | 16,9 | 20 | 25 | 53 | 70 | 120 | DH0160~DH0169 | ||
| DH01-0170D03-W20DH0179 | ■ | 17 | 17,9 | 20 | 25 | 56 | 73 | 123 | DH0170~DH0179 | ||
| DH01-0180D03-W25DH0189 | ■ | 18 | 18,9 | 25 | 32 | 62 | 86 | 142 | DH0180~DH0189 | ||
| DH01-0190D03-W25DH0199 | ■ | 19 | 19,9 | 25 | 32 | 65 | 89 | 145 | DH0190~DH0199 | ||
| DH01-0200D03-W25DH0209 | ■ | 20 | 20,9 | 25 | 32 | 68 | 92 | 148 | DH0200~DH0209 | ||
| DH01-0210D03-W25DH0219 | ■ | 21 | 21,9 | 25 | 32 | 71 | 95 | 151 | DH0210~DH0219 | ||
| 5D | |||||||||||
| DH01-0100D05-W16DH0104 | ■ | 10 | 10,4 | 16 | 20 | 53 | 68 | 116 | DH0100~DH0104 | ||
| DH01-0105D05-W16DH0109 | ■ | 10,5 | 10,9 | 16 | 20 | 55,5 | 70,5 | 118,5 | DH0105~DH0109 | ||
| DH01-0110D05-W16DH0114 | ■ | 11 | 11,4 | 16 | 20 | 58 | 73 | 121 | DH0110~DH0114 | ||
| DH01-0115D05-W16DH0119 | ■ | 11,5 | 11,9 | 16 | 20 | 60,5 | 75,5 | 123,5 | DH0115~DH0119 | ||
| DH01-0120D05-W16DH0124 | ■ | 12 | 12,4 | 16 | 20 | 63 | 78 | 126 | DH0120~DH0124 | ||
| DH01-0125D05-W16DH0129 | ■ | 12,5 | 12,9 | 16 | 20 | 65,5 | 80,5 | 128,5 | DH0125~DH0129 | ||
| DH01-0130D05-W16DH0134 | ■ | 13 | 13,4 | 16 | 20 | 68 | 83 | 131 | DH0130~DH0134 | ||
| DH01-0135D05-W16DH0139 | ■ | 13,5 | 13,9 | 16 | 20 | 70,5 | 85,5 | 133,5 | DH0135~DH0139 | ||
| DH01-0140D05-W16DH0144 | ■ | 14 | 14,4 | 16 | 20 | 73 | 88 | 136 | DH0140~DH0144 | ||
| DH01-0145D05-W16DH0149 | ■ | 14,5 | 14,9 | 16 | 20 | 75,5 | 90,5 | 138,5 | DH0145~DH0149 | ||
| DH01-0150D05-W20DH0159 | ■ | 15 | 15,9 | 20 | 25 | 83 | 100 | 150 | DH0150~DH0159 | ||
| DH01-0160D05-W20DH0169 | ■ | 16 | 16,9 | 20 | 25 | 88 | 105 | 155 | DH0160~DH0169 | ||
| DH01-0170D05-W20DH0179 | ■ | 17 | 17,9 | 20 | 25 | 93 | 110 | 160 | DH0170~DH0179 | ||
| DH01-0180D05-W25DH0189 | ■ | 18 | 18,9 | 25 | 32 | 100 | 124 | 180 | DH0180~DH0189 | ||
| DH01-0190D05-W25DH0199 | ■ | 19 | 19,9 | 25 | 32 | 105 | 129 | 185 | DH0190~DH0199 | ||
| DH01-0200D05-W25DH0209 | ■ | 20 | 20,9 | 25 | 32 | 110 | 134 | 190 | DH0200~DH0209 | ||
| DH01-0210D05-W25DH0219 | ■ | 21 | 21,9 | 25 | 32 | 115 | 139 | 195 | DH0210~DH0219 | ||
| 8D | |||||||||||
| DH01-0100D08-W16DH0104 | ■ | 10 | 10,4 | 16 | 20 | 85 | 100 | 148 | DH0100~DH0104 | ||
| DH01-0105D08-W16DH0109 | ■ | 10,5 | 10,9 | 16 | 20 | 89 | 104 | 152 | DH0105~DH0109 | ||
| DH01-0110D08-W16DH0114 | ■ | 11 | 11,4 | 16 | 20 | 93 | 108 | 156 | DH0110~DH0114 | ||
| DH01-0115D08-W16DH0119 | ■ | 11,5 | 11,9 | 16 | 20 | 97 | 112 | 160 | DH0115~DH0119 | ||
| DH01-0120D08-W16DH0124 | ■ | 12 | 12,4 | 16 | 20 | 101 | 116 | 164 | DH0120~DH0124 | ||
| DH01-0125D08-W16DH0129 | ■ | 12,5 | 12,9 | 16 | 20 | 105 | 120 | 168 | DH0125~DH0129 | ||
| DH01-0130D08-W16DH0134 | ■ | 13 | 13,4 | 16 | 20 | 109 | 124 | 172 | DH0130~DH0134 | ||
| DH01-0135D08-W16DH0139 | ■ | 13,5 | 13,9 | 16 | 20 | 113 | 128 | 176 | DH0135~DH0139 | ||
| DH01-0140D08-W16DH0144 | ■ | 14 | 14,4 | 16 | 20 | 117 | 132 | 180 | DH0140~DH0144 | ||
| DH01-0145D08-W16DH0149 | ■ | 14,5 | 14,9 | 16 | 20 | 121 | 136 | 184 | DH0145~DH0149 | ||
| DH01-0150D08-W20DH0159 | ■ | 15 | 15,9 | 20 | 25 | 130 | 147 | 197 | DH0150~DH0159 | ||
| DH01-0160D08-W20DH0169 | ■ | 16 | 16,9 | 20 | 25 | 138 | 155 | 205 | DH0160~DH0169 | ||
| DH01-0170D08-W20DH0179 | ■ | 17 | 17,9 | 20 | 25 | 146 | 163 | 213 | DH0170~DH0179 | ||
| DH01-0180D08-W25DH0189 | ■ | 18 | 18,9 | 25 | 32 | 156 | 180 | 236 | DH0180~DH0189 | ||
| DH01-0190D08-W25DH0199 | ■ | 19 | 19,9 | 25 | 32 | 164 | 188 | 244 | DH0190~DH0199 | ||
| DH01-0200D08-W25DH0209 | ■ | 20 | 20,9 | 25 | 32 | 172 | 196 | 252 | DH0200~DH0209 | ||
| DH01-0210D08-W25DH0219 | ■ | 21 | 21,9 | 25 | 32 | 180 | 204 | 260 | DH0210~DH0219 | ||
■ — стандартная программа, □ — уточняйте возможность поставки
Запасные части — серия DH01
| Обозначение корпуса сверла | Винт | Ключ |
|
|
|
| DH01-0100...~DH01-0120... | VT-022-038 | KK-006 |
| DH01-0125...~DH01-0150... | VT-025-046 | KK-007 |
| DH01-0160...~DH01-0190... | VT-030-058 | KK-008 |
| DH01-0200...~DH01-0210... | VT-035-072 | KK-009 |
Режимы резания
| Обрабатываемый материал | Твердость |
Скорость
резания Vc (м/мин) | Подача fn (мм/об) | ||||
|---|---|---|---|---|---|---|---|
| Ø11 | Ø13 | Ø15 | Ø18 | Ø21 | |||
| P — Сталь | |||||||
| Низкоуглеродистая сталь (длинная стружка) |
|
60-
100
-140
|
0,14-
0,2
-0,28
|
0,16-
0,24
-0,3
|
0,18-
0,26
-0,33
|
0,20-
0,28
-0,35
|
0,25-
0,34
-0,42
|
|
| Низкоуглеродистая сталь (короткая стружка), автоматная сталь |
|
60-
100
-140
|
0,14-
0,2
-0,28
|
0,16-
0,24
-0,3
|
0,18-
0,26
-0,33
|
0,20-
0,28
-0,35
|
0,25-
0,34
-0,42
|
|
| Средне- и высокоуглеродистая сталь |
|
60-
80
-120
|
0,14-
0,2
-0,28
|
0,16-
0,24
-0,3
|
0,18-
0,26
-0,33
|
0,20-
0,28
-0,35
|
0,25-
0,34
-0,42
|
|
| Легированная сталь, инструментальная сталь |
|
60-
80
-110
|
0,14-
0,2
-0,24
|
0,16
-0,22
-0,26
|
0,16-
0,22
-0,26
|
0,18-
0,24
-0,28
|
0,18-
0,26
-0,30
|
|
| Легированная сталь, инструментальная сталь | HRC35-HRC48 | 35- 60 -90 | 0,10- 0,14 -0,18 | 0,12- 0,16 -0,20 | 0,12- 0,16 -0,20 | 0,14- 0,18 -0,22 | 0,14- 0,18 -0,22 |
| M — Нержавеющая сталь | |||||||
| Нержавеющая сталь (аустенитная) | HB130-HB200 | 40- 60 -80 | 0,12- 0,16 -0,18 | 0,13- 0,16 -0,2 | 0,14- 0,18 -0,24 | 0,14- 0,2 -0,26 | 0,15- 0,22 -0,3 |
| Нержавеющая сталь (аустенитная), литье нержавеющей стали |
|
40-
60
-80
|
0,08-
0,1
-0,13
|
0,09-
0,11
-0,13
|
0,10-
0,12
-0,14
|
0,10-
0,12
-0,14
|
0,12-
0,14
-0,16
|
|
| Нержавеющая сталь (двухфазная) |
|
30-
45
-60
|
0,08-
0,1
-0,13
|
0,09-
0,11
-0,13
|
0,10-
0,12
-0,14
|
0,10-
0,12
-0,14
|
0,12-
0,14
-0,16
|
|
| K — Чугун | |||||||
| Серый чугун |
|
60-
120
-160
|
0,14-
0,22
-0,28
|
0,14-
0,26
-0,35
|
0,18-
0,28
-0,38
|
0,2-
0,3
-0,4
|
0,22-
0,32
-0,45
|
|
| Чугун с шаровидным графитом, легированный чугун |
|
60-
100
-140
|
0,14-
0,2
-0,25
|
0,14-
0,22
-0,3
|
0,16-
0,26
-0,35
|
0,18-
0,3
-0,4
|
0,2-
0,3
-0,42
|
|
| Чугун с шаровидным графитом, легированный чугун |
|
50-
80
-100
|
0,10-
0,14
-0,16
|
0,12-
0,15
-0,18
|
0,14-
0,18
-0,20
|
0,16-
0,2
-0,22
|
0,18-
0,22
-0,24
|
|
— возможная обработка