Пластина CBN токарная DNGA150404-CCB2-BC6310
| Обозначение сплава РИ | BC6310 |
|---|---|
| Обрабатываемый металл | H (твердые сплавы) |
| Вид обработки | Чистовая Получистовая |
| Тип обработки токарной пластины | Без удара |
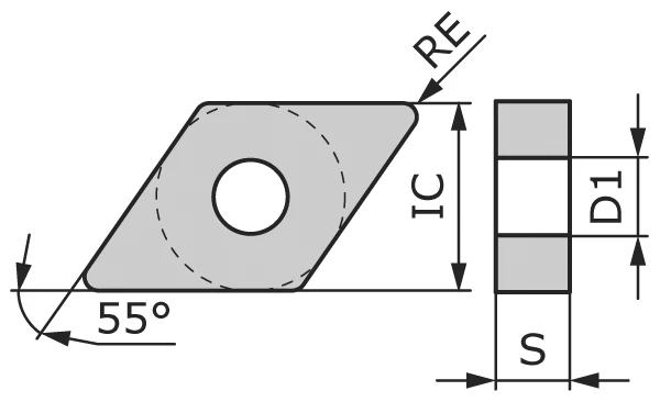
| Радиус при вершине (RE), мм | 0,4 |
| Материал режущего инструмента | CBN (вставки) |
| Тип пластины | DNGA |
| Форма пластины | D - Ромб 55° |
| Геометрия передней поверхности | CCB |
| Исполнение | Нейтральное |
| Задний угол пластины | N - 0° (нулевой) |
| Класс точности | G |
| Размер пластины | 15 |
| Отверстие | С отверстием |
| Диаметр вписанной окружности (IC), мм | 12,7 |
| Обозначение толщины пластины | 04 |
| Толщина пластины (S), мм | 4,76 |
| Количество в упаковке | Нет значения |
| Покрытие | PVD |
| Рабочие стороны режущей пластины | Односторонняя |
| Особенности | 2 режущих кромки |
| Бренд | AdvaСut |
| Вид номенклатуры | Токарные пластины |
Обозначение сплава РИ: BC6310
Описание сплава
BC6310 Двухслойное износостойкое покрытие обладает превосходной термостойкостью и износостойкостью, что обеспечивает стабильность обработки и превосходную шероховатость обработанной поверхности. Подходит для обработки деталей из закаленной стали с высокими требованиями к точности размеров и шероховатости поверхности.
| CBN с покрытием | ||||
| H – Материалы высокой твердости | ||||
| H01 | H10 | H20 | H30 | H40 |
| BC6310 | ||||
Материал режущего инструмента: CBN (вставки)
Режимы
Условия резания: — без удара,
— легкий удар, — тяжелый удар.
| Обрабатываемый материал | Твердость | Вид обработки | Условия резания | Марка | Скорость резания Vc (м/мин) | Глубина резания ap (мм) | Подача fn (мм/об) |
|---|---|---|---|---|---|---|---|
| K — Чугун | |||||||
| Серый чугун | HB200-HB230 | Чистовая | ![]() |
BN3015 | 400-600-1500 | 0,05-0,20-0,50 | 0,05-0,20-0,40 |
| Легированный чугун | ≥HB200 | Чистовая | ![]() |
BN3015 | 200-400-800 | 0,05-0,20-0,50 | 0,05-0,20-0,40 |
| Чугун с шаровидным графитом | 450–700 МПа | Чистовая | ![]() |
BC3020 | 150-300-500 | 0,10-0,20-0,50 | 0,05-0,12-0,30 |
| S — Жаропрочные сплавы | |||||||
| Продукты порошковой металлургии | HRB50-90 | Чистовая | BN5015 | 50-150-300 | 0,05-0,20-0,50 | 0,05-0,12-0,30 | |
| H — Материалы высокой твердости | |||||||
| Закаленная сталь | ≥HRC50 | Чистовая | BC6015 | 120-150-220 | 0,05-0,10-0,20 | 0,05-0,10-0,20 | |
| Получистовая | ![]() |
BC6025 | 100-130-180 | 0,05-0,10-0,50 | 0,05-0,10-0,20 | ||
| Получистовая | BC6035 | 80-100-150 | 0,05-0,10-0,40 | 0,05-0,10-0,20 | |||
| Обозначение сплава РИ | BC6310 |
|---|---|
| Обрабатываемый металл | H (твердые сплавы) |
| Вид обработки | Чистовая Получистовая |
| Тип обработки токарной пластины | Без удара |
| Радиус при вершине (RE), мм | 0,4 |
| Материал режущего инструмента | CBN (вставки) |
| Тип пластины | DNGA |
| Форма пластины | D - Ромб 55° |
| Геометрия передней поверхности | CCB |
| Исполнение | Нейтральное |
| Задний угол пластины | N - 0° (нулевой) |
| Класс точности | G |
| Размер пластины | 15 |
| Отверстие | С отверстием |
| Диаметр вписанной окружности (IC), мм | 12,7 |
| Обозначение толщины пластины | 04 |
| Толщина пластины (S), мм | 4,76 |
| Количество в упаковке | Нет значения |
| Покрытие | PVD |
| Рабочие стороны режущей пластины | Односторонняя |
| Особенности | 2 режущих кромки |
| Бренд | AdvaСut |
| Вид номенклатуры | Токарные пластины |
Обозначение сплава РИ: BC6310
Описание сплава
BC6310 Двухслойное износостойкое покрытие обладает превосходной термостойкостью и износостойкостью, что обеспечивает стабильность обработки и превосходную шероховатость обработанной поверхности. Подходит для обработки деталей из закаленной стали с высокими требованиями к точности размеров и шероховатости поверхности.
| CBN с покрытием | ||||
| H – Материалы высокой твердости | ||||
| H01 | H10 | H20 | H30 | H40 |
| BC6310 | ||||
Материал режущего инструмента: CBN (вставки)
Режимы
Условия резания: — без удара,
— легкий удар, — тяжелый удар.
| Обрабатываемый материал | Твердость | Вид обработки | Условия резания | Марка | Скорость резания Vc (м/мин) | Глубина резания ap (мм) | Подача fn (мм/об) |
|---|---|---|---|---|---|---|---|
| K — Чугун | |||||||
| Серый чугун | HB200-HB230 | Чистовая | ![]() |
BN3015 | 400-600-1500 | 0,05-0,20-0,50 | 0,05-0,20-0,40 |
| Легированный чугун | ≥HB200 | Чистовая | ![]() |
BN3015 | 200-400-800 | 0,05-0,20-0,50 | 0,05-0,20-0,40 |
| Чугун с шаровидным графитом | 450–700 МПа | Чистовая | ![]() |
BC3020 | 150-300-500 | 0,10-0,20-0,50 | 0,05-0,12-0,30 |
| S — Жаропрочные сплавы | |||||||
| Продукты порошковой металлургии | HRB50-90 | Чистовая | BN5015 | 50-150-300 | 0,05-0,20-0,50 | 0,05-0,12-0,30 | |
| H — Материалы высокой твердости | |||||||
| Закаленная сталь | ≥HRC50 | Чистовая | BC6015 | 120-150-220 | 0,05-0,10-0,20 | 0,05-0,10-0,20 | |
| Получистовая | ![]() |
BC6025 | 100-130-180 | 0,05-0,10-0,50 | 0,05-0,10-0,20 | ||
| Получистовая | BC6035 | 80-100-150 | 0,05-0,10-0,40 | 0,05-0,10-0,20 | |||